USB/PWR 分离器
1. 简介

该适配器允许 Raspberry Pi 4 使用 Pi USB-C 电源适配器供电,同时通过单独的 USB-C 连接访问 USB OTG 数据。
USB-C (RPI4) <=> USB-C (USB) 和 USB-C (PWR)
| USB-C(RPI4) | USB Type-C(USB) | USB Type-C(PWR) |
|---|---|---|
| 5V | 5V | |
| D- | D- | |
| D+ | D+ | |
| CC1 10k 到 5V | CC1 5.1k 到 GND | CC1 5.1k 到 GND |
| CC2 10k 到 5V | CC2 5.1k 到 GND | CC2 5.1k 到 GND |
| GND | GND | GND |
要将适配器与 Raspberry Pi 4 一起使用,您需要:
- 一根 USB-C 到 USB-C 的电缆[1],连接 Pi4 和适配器板
- 一根 USB-C 到 USB-C 或 Type-A 的电缆,连接适配器板和 PC
- 电源[2],通过官方 Raspberry Pi USB Type-C 电源适配器供电。
[1] 尽管 USB-C 电缆通常设计用于更高电流,我仍建议尽可能使用短的电源线连接到 Pi,以减少电压降。
[2] 请注意 由于此板上的上拉/下拉电阻,它只能与 5V 电源一起使用,为 5V 设备供电。
这种适配器不符合 USB 规范。它是为与官方 Raspberry Pi USB-C 电源适配器和 Raspberry Pi 一起使用而设计的,与其他电源适配器/充电器和设备一起使用可能会导致问题或损坏。
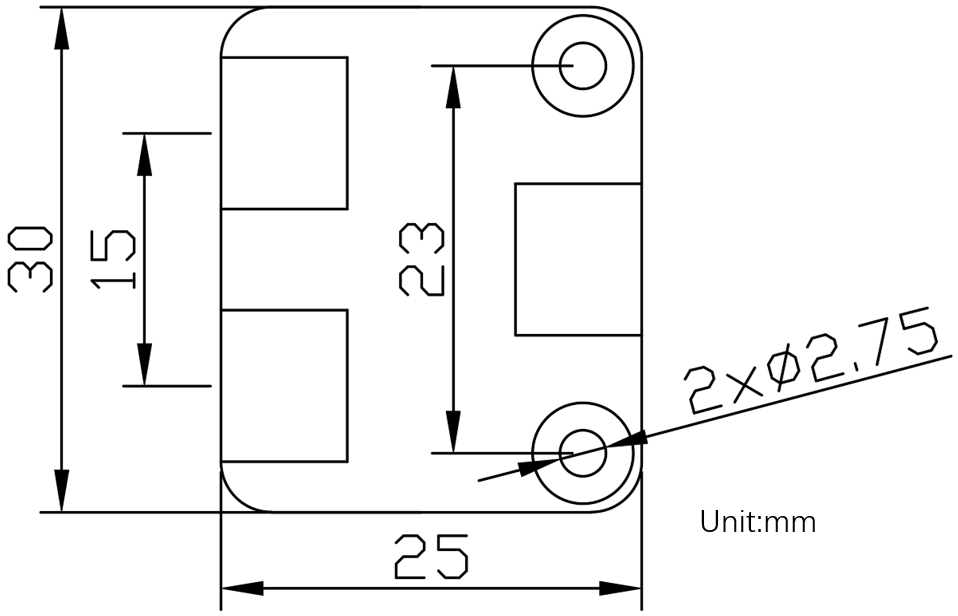
2. 机械图

3. 测试视频
"USB 分离器视频"
4. 3D 打印外壳
"USB 分离器的简单卡扣式外壳。"
